There are three type of Lever Handles
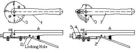
1. Common handle with common notch plate: The valve can be on /off by operating the lever handle, and different positional slot can keep the valve in a required opening angle.
2. Locking handle with common notch plate: The locking handle can fix the valve in a required opening angle.
3. Common handle with locking plate: The locking plate can fix the valve in a required opening angle.
The two drawings below show the locking device:
Structure of Locking Handle ¡¡¡¡¡¡Structure of Locking Plate
|
Note:
|
|
|||||||||||||||||||||||||||||||||||||||||||||
86-22-66531568
