适用介质:
淡水,海水,空气,蒸汽,食品,药品,以及各种油类,酸类,碱类,盐类等。
对夹式双板止回阀概述:
该阀由阀体、阀板、阀杆、弹簧等组成,可水平或垂直安装于水等介质管路上,防止管路介质倒流,使用范围广、启闭灵敏、密封性能好。
规格:DN50-DN800
压力级:PN16
材质:铸铁,不锈钢
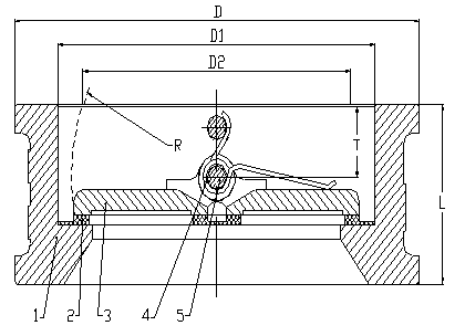
序号
数量
零件名称
1
1
阀体
2
1
阀座
3
2
阀板
4
2
弹簧
5
2
转轴
双板对夹式止回阀结构图及零件表
公称压力: PN10/PN16
双板对夹式止回阀性能规范
规格
DN40~DN800
DN40~DN600
公称压力
1.0MPa
1.6MPa
试验压力
壳体
1.1MPa
1.76MPa
密封
1.5MPa
2.4MPa
适用温度
1-乙丙橡胶
2-氯丁橡胶
3-丁腈橡胶
4-氟橡胶
+
适用介质
淡水,海水,空气,蒸汽,食品,药品,以及各种油类,酸类,碱类,盐类等。
压头损失曲线图
阀体
阀板
转轴
轴套
阀 座
材质
材质
工作温度(℃)
会铸铁
球墨铸铁
416SS
润滑青铜
天然橡胶
球墨铸铁
WCB铸钢
431SS
高分子材料符合聚四氟乙烯
海帕伦
WCB铸钢
铝青铜
316SS
316不锈钢复合聚四氟乙烯
乙丙橡胶
铝青铜
不锈钢
氯丁橡胶
不锈钢
丁腈橡胶
耐磨橡胶
氟橡胶
耐热橡胶
聚四氟乙烯
+
规格
D
D1
D2
L
R
T
重量Kgs.
英寸
毫米
2
50
107
65
43.3
43
28.8
19
1.5
2 1/2
65
127
80
60.2
46
36.1
20
2.4
3
80
142
94
66.4
64
43.4
28
3.6
4
100
162
117
90.8
64
52.8
27
5.7
5
125
192
145
116.9
70
65.7
30
7.3
6
150
218
170
144.6
76
78.6
31
9.0
8
200
273
224
198.2
89
104.4
33
17.0
10
250
328
265
233.7
114
127
50
26.0
12
300
378
310
279.05
114
146
43
37.0
14
350
438
360
327.87
127
170
45
54.9
16
400
489
410
375.88
140
195
52
78.0
18
450
555
450
414.06
152
215
58
119.0
20
500
594
505
467.83
152
241
58
122.0
24
600
700
624
569.59
178
294
73
174.0
28
700
820
720
662.75
229
345
96
219.0
32
800
930
825
762.72
241
394
99
316.0

, ,
86-22-66531568
