DN40-DN300蝶阀
DN350-DN600 蝶阀
DN550-DN1000单法兰蝶阀
DN700-DN1200 U型蝶阀
DN50-DN150 螺纹连接蝶阀
DN50-DN300 卡箍连接蝶阀
DN50-DN1200 双法兰蝶阀
DN15-DN400 单板对夹式止回阀
DN50-DN800 双板对夹式止回阀
阀门手动装置-手动头
阀门手动传动装置-手柄
分享
打印
询盘
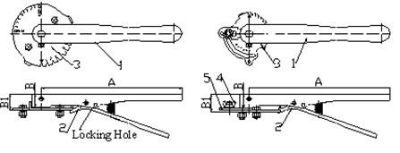
我公司生产的手柄传动装置主要分为三种形式::
1.常规手柄、齿盘传动装置,通过操作手柄,可实现阀门开启或关闭,齿盘上的分度齿槽可是阀门处在某一特定开启角度。
2.锁定手柄、常规齿盘传动装置,通过锁紧手柄,使阀门固定在某一特定开启角度。
3.常规手柄、锁定齿盘传动装置,通过锁紧齿盘,使阀门固定在某一特定开启角度。
参考图如下:
锁定手柄结构形式 锁定齿盘结构形式